Запасные части ЧТЗ Запасные части ЧТЗ
Самара
Например:
Актобе
Алдан
или
Выбрать автоматически
Актобе
Алдан
Алматы
Алчевск
Архангельск
Астана
Астрахань
Атырау
Баку
Балашиха
Барнаул
Белгород
Бердянск
Бишкек
Владивосток
Владикавказ
Воркута
Воронеж
Горловка
Грозный
Донецк
Екатеринбург
Иваново
Ижевск
Иркутск
Казань
Калининград
Каменск-Уральский
Караганда
Каховка
Кемерово
Киров
Комсомольск-на-Амуре
Костанай
Краснодар
Красноярск
Красный луч
Ленск
Луганск
Магадан
Магнитогорск
Макеевка
Махачкала
Мелитополь
Минск
Мирный (Якутия)
Москва
Мурманск
Нерюнгри
Нижневартовск
Нижний Новгород
Нижний Тагил
Новая каховка
Новокузнецк
Новосибирск
Новый Уренгой
Норильск
Ноябрьск
Нур-Султан
Омск
Оренбург
Ош
Павлодар
Пермь
Петрозаводск
Петропавловск
Петропавловск-Камчатский
Псков
Ростов-на-Дону
Салехард
Самара
Санкт-Петербург
Саратов
Севастополь
Семей
Симферополь
Сочи
Ставрополь
Сургут
Сыктывкар
Тараз
Ташкент
Токмак
Томск
Тында
Тюмень
Ульяновск
Усинск
Усть-Каменогорск
Уфа
Хабаровск
Ханты-Мансийск
Херсон
Челябинск
Чита
Шымкент
Экибастуз
Энергодар
Южно-Сахалинск
Якутск
Ваш город
Самара
Войти
Запасные части к тракторам на одном сайте
+7 (932) 303-00-10
+7 (932) 303-00-10
г. Самара, ул. Демократическая, д. 45а
Пн-Пт: 9:30-18:30 Cб-Вс: Выходной
Отправить заявку


Ремонт сервомеханизма муфты сцепления Т-170 Б-170 трактора в Самаре


/
с НДС 20%
Описание

Снятие сервомеханизма муфты сцепления Т-170

Снимите панели пола в кабине трактора, крышку люка на верхнем кожухе муфты сцепления. Отсоедините от сервомеханизма три гидравлических трубопровода.

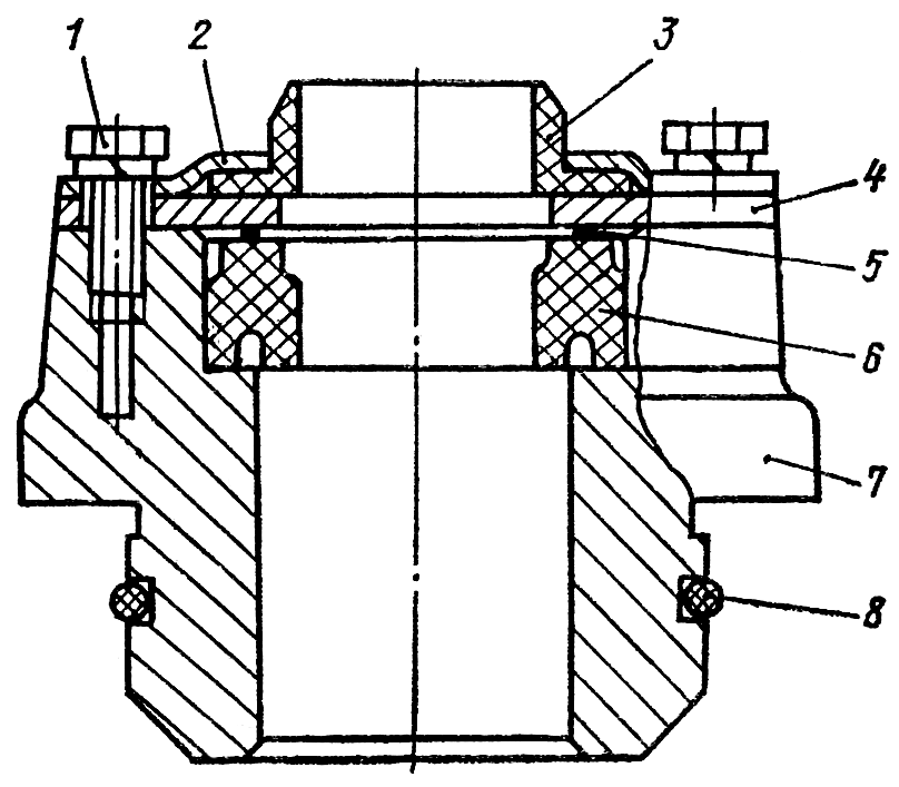
Сервомеханизм муфты сцепления

Рис. 196. Сервомеханизм муфты сцепления

Вверните до упора в отверстие К ( рис. 196 ) сервомеханизма полый болт 20 крепления сливной трубы после ее отсоединения.

Расстопорите и отверните штуцер рукава подачи смазки от пальца на рычаге муфты сцепления. Отсоедините тягу от рычага муфты сцепления, расшплинтовав и отвернув контргайку и шаровую гайку. Снимите с вала сервомеханизма рычаг в сборе с тягой, ослабив стяжной болт крепления рычага. Отсоедините от рычагов на верхней половине кожуха муфты сцепления тягу блокировки КП, тягу включения шестерни бендикса и тягу тормоза. Отверните болты крепления верхней половины кожуха муфты сцепления.

Приподнимите верхнюю половину кожуха муфты сцепления так, чтобы корпус сервомеханизма вышел над лонжероном трактора. Ослабьте гайки на четырех шпильках крепления сервомеханизма и выверните шпильки и один (нижний) болт из кожуха муфты сцепления. Шпильки из кожуха выверните при помощи двух гаек, навернутых на их конец и затянутых навстречу друг другу.Снимите сервомеханизм с установочных штифтов, поверните его и выбейте шпонку с конца вала внутри кожуха муфты сцепления. Снимите с трактора сервомеханизм в сборе с валом вместе со шпильками и болтом крепления.

Разборка сервомеханизма муфты сцепления Т-170

Расконтрите и выверните пробку 8. Снимите регулировочные прокладки 9. Выверните стопорный винт 7. Отверните четыре болта 10 и выньте крышку 5. в сборе из отверстия корпуса 4 сервомеханизма. Выньте клапан 6 в сборе. Выньте из корпуса пружину 2 и поршень 3 в сборе. Выверните две пробки 13 и выньте золотник 12 из корпуса. Выверните пробку 11.

Выпрессуйте пяту 1 из поршня 3 и втулку 16 с заглушкой 14 из корпуса 4 только при ослаблении посадок или предельном износе внутренних поверхностей. Не снимайте без необходимости крышку 23, так как она вместе с прокладкой 21 установлена на лаке «Герметик». Снимите ролик 19 вала, расшплинтовав и вынув палец 18. Снимите, при необходимости, три уплотнительных кольца 15.

Клапан в сборе

Рис. 197. Клапан в сборе

Сверните шток 4 ( рис. 197 ) клапана со стержня 3. Выньте из клапана 1 стержень, шток и пружину 2.

Крышка в сборе

Рис. 198. Крышка в сборе

Отверните четыре болта 1 ( рис. 198 ) и снимите крышку 2, воротник 3 и пластину 4. Выньте из отверстия крышки 7 манжету 5 и манжетодержатель 6. Снимите, при необходимости, уплотнительное кольцо 8.

Технические требования сервомеханизма муфты сцепления Т-170

  1. Наружный диаметр посадочных поверхностей вала во втулках корпуса сервомеханизма и кожуха муфты сцепления 35±0,87 мм- Диаметр отверстий во втулках — 35±0,16 мм. Посадка вала во втулках должна быть с зазором 0,025...0,247 мм. Допустимый зазор 0,4 мм. Предельный зазор 0,55 мм.

  2. Диаметр отверстий в проушине вала под ось ролика 12±0,120 мм.Диаметр оси ролика 12мм-Посадка оси ролика в отверстиях проушины вала должна быть с зазором 0,020...0,340 мм. Допустимый зазор 0,44 мм. Предельный зазор 0,8 мм.

  3. Наружный диаметр ролика (28±0,52) мм. Диаметр отверстия ролика 12±0,270 мм.. Посадка ролика на ось должна быть с зазором 0,020...0,490 мм. Допустимый зазор 0,56 мм.

  4. Диаметр отверстия крышки под клапан 36±0,0б2 мм Наружный посадочный диаметр клапана в отверстии крышки 36мм. Посадка клапана в отверстии крышки должна быть с зазором 0,025...0,149 мм. Допустимый зазор 0,23 мм.

  5. Наружный посадочный диаметр клапана в отверстии поршня 34 мм - Посадка клапана в отверстии поршня должна быть с зазором 0,340...0,532 мм. Допустимый зазор 0,75 мм.

  6. Диаметр отверстия клапана под шток 28 мм Наружный диаметр штока мм - Посадка штока в отверстии клапана должна быть с зазором 0,020...0,124 мм. Допустимый зазор — 0,21 мм.

  7. Наружный диаметр поршня б5 мм. Диаметр отверстия в корпусе сервомеханизма под поршень 65±0,046 мм. Посадка поршня в отверстии корпуса должна быть с зазором 0,030...0,106 мм. Допустимый зазор 0,15 мм.

  8. Кромка Т поршня должна быть обжата шариком Б 50-200 усилием 53,5...66,5 кН (5,35...6,65 тс).

  9. Наружный диаметр золотника 320 мм. Диаметр отверстия в корпусе под золотник 32±0,025 мм Посадка золотника в отверстии корпуса сервомеханизма должна быть с зазором 0,025...0,075 мм. Допустимый зазор 0,11 мм.

Сборка сервомеханизма муфты сцепления Т-170

Смажьте трущиеся поверхности сопрягаемых деталей чистым моторным маслом. Наденьте на стержень 3 клапана ( см. рис. 197 ) последовательно: клапан 1, пружину 2 и шток 4. Наверните шток на стержень, выдержав размер А, равный (75±2,5) мм.

Установите уплотнительное кольцо 8 ( см. рис. 198 ) в кольцевую канавку крышки 7. Кольцо должно быть упругим, без повреждений, не перекручено и выступать над цилиндрической посадочной поверхностью крышки на 0,75 мм. Установите в крышку 7 последовательно: манжету 6, кольцо 5, пластину 4, воротник 3 и крышку 2. Совместите отверстия крышки 2 и пластины 4 с резьбовыми отверстиями крышки 7 и заверните, не затягивая, четыре болта 1 с пружинными шайбами.

Установите ролик 19 ( см. рис. 196 ) в проушину вала, вставьте и зашплинтуйте палец 18. Установите два уплотнительных кольца 15 в канавки вала. Кольца должны быть упругими, без повреждений, не перекручены и выступать над цилиндрической посадочной поверхностью вала на 0,5 мм.

Обезжирьте уайт-спиритом и протрите привалочные поверхности крышки 23 и корпуса сервомеханизма. Установите крышку с прокладкой 21 на корпус и закрепите четырьмя болтами 22 с гладкими медными шайбами. Прокладку крышки смажьте с обеих сторон лаком «Герметик», а резьбовую часть болтов лаком «Анатерм-8К» Заверните пробку 11. Установите золотник 12 и заверните две пробки 13 с уплотнительными кольцами

Установите вал 17 в сборе в отверстие втулки 16, запрессованной в корпусе сервомеханизма. Вверните полый болт 20 (болт крепления сливной, трубы) р резьбовое отверстие К до упора.

Установите в корпус поршень 3 в сборе с пятой 1, пружину 2, клапан 6 в сборе и крышку 5 в сборе. Закрепите крышку на корпусе четырьмя болтами 10 с пружинными шайбами. Затяните четыре болта 1 ( см. рис. 198 ).

Стопорный винт 7 ( см. рис. 196 ) и пробку 8 устанавливайте после регулирования и испытания сервомеханизма.

Регулирование, обкатка и испытание сервомеханизма муфты сцепления

Регулируйте, обкатывайте и испытывайте сервомеханизм на специальном стенде. Производительность насоса стенда должна быть 40. 60 л/мин. Применяйте зимнее моторное масло при температуре масла 323...333 К (50...60°С). Присоедините к отверстию Е (см. рис. 196) сервомеханизма штуцер подводящего (нагнетательного) маслопровода стенда с контрольным манометром, к отверстию Я — штуцер сливного трубопровода. Контрольный манометр можно подсоединить отдельно — к отверстию Р, закрываемому пробкой 11. Полость М сервомеханизма должна сообщаться со сливной полостью стенда. Ниже приведены резьбы отверстий:

Резьбы отверстий
Отверстие Резьба
обозначение глубина
Е М27Х1.5-7Н 22
Н М22Х1.5-7Н 17
К M22xl.5-.7H 27
Р М12Х1.25-7Н 14

Подсоедините систему тяг и рычагов стенда к валу 17 сервомеханизма. Выверните полый болт 20 и заглушите отверстие К пробкой или подсоедините его к сливной магистрали. Не выворачивайте полый болт 20 до подсоединения вала 17 к рычагам стенда, так как это может привести к заклиниванию поршня 3 в корпусе сервомеханизма.

Испытайте сервомеханизм в течение 3 мин под периодически включаемой нагрузкой и отрегулируйте согласно следующим требованиям:

  1. Шток клапана должен перемещаться на величину 31...33 мм, преодолевая момент сопротивления 180...220 Н-м (18...22 кгс-м) на валу 17.

  2. На последнем участке хода клапана, равном 5 мм, вал сервомеханизма должен быть неподвижным (иметь жесткий упор).

  3. Давление в .полости золотника (контролируется по манометру) в конце хода клапана должно быть в пределах 4,9...6,5 МПа (50...65 кгс/см²). Регулируйте давление, вращая стержень С относительно штока клапана отверткой, вставленной в шлиц стержня. При вращении стержня против часовой стрелки (если смотреть в отверстие штока) давление увеличивается, по часовой стрелке-давление уменьшается. По окончании регулирования законтрите стержень С винтом 7.

  4. Контролируйте размер D, который должен быть в пределах 96,5...101 мм (при полностью выдвинутом штоке клапана). Пробку 8 устанавливайте на лаке «Анатерм-8К»:

  5. При плавном снятии силы, воздействующей на шток клапана, вся система должна плавно возвращаться в исходное положение.

  6. Течь масла через прокладки, втулки и уплотнения не допускается.

После регулирования и испытания отсоедините маслопроводы стенда и вверните в отверстие К сервомеханизма полый болт 20 до упора, после чего отсоедините рычаги стенда от вала 17 и снимите сервомеханизм.

Установите заглушку 14 заподлицо во втулку 16 корпуса сервомеханизма, смазав посадочную поверхность «Герметиком». Законтрите проволокой пробку 8.

Для предохранения внутренних плоскостей от загрязнения закройте отверстия Е и Н деревянными пробками. В отверстии К должен быть установлен полый болт 20 (или специальный болт) до упора в вал сервомеханизма.

Установка сервомеханизма муфты сцепления Т-170

Установите на штифты верхнего кожуха муфты сцепления фланцевую прокладку сервомеханизма, смазав ее с двух сторон лаком «Герметик». Вставьте в отверстия корпуса сервомеханизма четыре шпильки с надетыми шайбами и навинченными гайками и один болт с пружинной шайбой (болт ставится в нижнее отверстие). Установите конец вала сервомеханизма с уплотнительным кольцом в отверстие втулки кожуха и, развернув корпус сервомеханизма, забейте шпонку в паз вала. Установите сервомеханизм на штифты и фланцевую прокладку. Заверните в кожух четыре шпильки и закрепите сервомеханизм четырьмя гайками и болтом. Наденьте и закрепите на валу сервомеханизма рычаг в сборе с тягой, установив конец тяги в проушины рычага муфты сцепления. Установите и закрепите верхнюю половину кожуха муфты сцепления, наверните на тягу шаровую гайку, подсоедините штуцер рукава подачи смазки к рычагу муфты сцепления (см. «Механизм управления муфтой сцепления и горным тормозом»).

Выверните полый болт 20 ( см. рис. 196 ) и подсоедините к сервомеханизму три гидравлических трубопровода: к отверстию Ё — трубу подвода масла от гидронасоса; к отверстию Е - трубу отвода масла к сервомеханизму бортовых фрикционов; к отверстию К — сливную трубу. Отрегулируйте свободный ход штока клапана сервомеханизма и зазор между штоком и роликом нажимного рычага (см. «Регулирование муфты сцепления, сервомеханизма муфты сцепления и блокировочного механизма»).

Регулирование давления в полости золотника сервомеханизма на тракторе Т-170

Заглушите дизель трактора. Снимите левую переднюю панель пола в кабине трактора. Выверните пробку 11 из корпуса сервомеханизма. Подсоедините трубку с манометром к отверстию Р под пробку (резьба отверстия М12Х 1.25-7Н). Пустите дизель и, прокачивая педаль муфты сцепления, проверьте давление в полости золотника в конце хода штока клапана. Давление должно быть в пределах 4,9...6,5 МПа (50...65 кгс/см²). Для регулирования давления снимите наружный нажимной рычаг с роликом, воздействующим на шток клапана, отверните пробку 8 и выверните стопорный винт 7. Вставьте отвертку в шлиц стержня С, и, вращая стержень относительно штока, отрегулируйте давление в вышеуказанных пределах. При вращении стержня по часовой стрелке (если смотреть в отверстие штока) давление уменьшается, против часовой стрелки давление увеличивается. Нажимая на шток клапана, проверьте давление в конце его хода. Законтрите стержень стопорным винтом 7. Заглушите дизель. Отсоедините манометр и вверните пробку 11. Отрегулируйте размер D. Вверните пробку 8 в шток клапана и законтрите ее проволокой.

Установите нажимной рычаг с роликом, проверьте, и, при необходимости, отрегулируйте величину зазора между роликом и штоком клапана сервомеханизма при полностью выдвинутом штоке (см. «Регулирование муфты сцепления, сервомеханизма муфты сцепления и блокировочного механизма») .

Ремонт сервомеханизма муфты сцепления