Запасные части ЧТЗ Запасные части ЧТЗ
Самара
Например:
Актобе
Алдан
или
Выбрать автоматически
Актобе
Алдан
Алматы
Алчевск
Архангельск
Астана
Астрахань
Атырау
Баку
Балашиха
Барнаул
Белгород
Бердянск
Бишкек
Владивосток
Владикавказ
Воркута
Воронеж
Горловка
Грозный
Донецк
Екатеринбург
Иваново
Ижевск
Иркутск
Казань
Калининград
Каменск-Уральский
Караганда
Каховка
Кемерово
Киров
Комсомольск-на-Амуре
Костанай
Краснодар
Красноярск
Красный луч
Ленск
Луганск
Магадан
Магнитогорск
Макеевка
Махачкала
Мелитополь
Минск
Мирный (Якутия)
Москва
Мурманск
Нерюнгри
Нижневартовск
Нижний Новгород
Нижний Тагил
Новая каховка
Новокузнецк
Новосибирск
Новый Уренгой
Норильск
Ноябрьск
Нур-Султан
Омск
Оренбург
Ош
Павлодар
Пермь
Петрозаводск
Петропавловск
Петропавловск-Камчатский
Псков
Ростов-на-Дону
Салехард
Самара
Санкт-Петербург
Саратов
Севастополь
Семей
Симферополь
Сочи
Ставрополь
Сургут
Сыктывкар
Тараз
Ташкент
Токмак
Томск
Тында
Тюмень
Ульяновск
Усинск
Усть-Каменогорск
Уфа
Хабаровск
Ханты-Мансийск
Херсон
Челябинск
Чита
Шымкент
Экибастуз
Энергодар
Южно-Сахалинск
Якутск
Ваш город
Самара
Войти
Запасные части к тракторам на одном сайте
+7 (932) 303-00-10
+7 (932) 303-00-10
г. Самара, ул. Демократическая, д. 45а
Пн-Пт: 9:30-18:30 Cб-Вс: Выходной
Отправить заявку


Поршень и шатун П-23У трактора в Самаре


/
с НДС 20%
Описание

Снятие поршня и шатуна П-23У

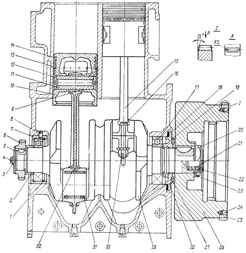
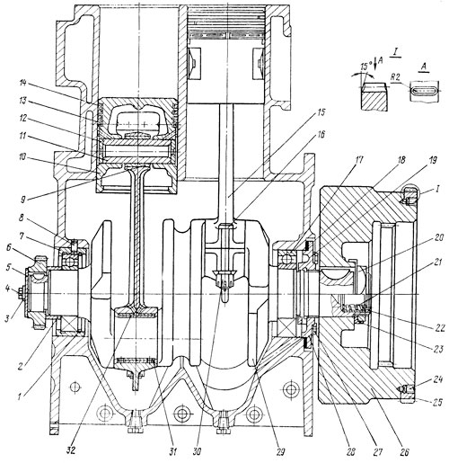
Снимите пусковой двигатель с дизеля. Снимите головку цилиндров и крышку люка поддона пускового двигателя. Проверните коленчатый вал, установив головку шатуна против люка. Расшплинтуйте и отверните гайки 30 (см. рис. 130) шатунных болтов 16. Выбейте из крышки нижней, головки шатуна болты и снимите ее вместе с вкладышем. Проверните коленчатый вал, установив поршень в ВМТ, выньте поршень 10 с шатуном из цилиндра. При этом следите, чтобы шатунные болты не задевали поверхность цилиндра. Пометьте шатун первого цилиндра цифрой «1», второго — «2».

Разборка поршня и шатуна П-23У

Нанесите метки на торцах вкладышей, крышек и шатунов, чтобы при сборке установить их на прежнее место. Выньте вкладыши из крышки И нижней головки шатуна.

Соедините крышку и нижнюю головку шатуна болтами в таком положении, как они стояли на двигателе.

Снимите поршневые кольца специальными щипцами. Поршневые кольца снимайте только при их замене, при потере компрессии или для удаления нагара в канавках поршня.

Нагрейте поршень до температуры 343...363 К (70...90°С). Удалите заглушку 12 и поршневой палец 11.

Технические требования на поршень П-23У

  1. Поршни, установленные на одном двигателе; по массе не должны отличаться более чем на 10 г. Масса поршня в граммах нанесена на днище поршня. Диаметр юбки поршня 92-0,115 мм.

  2. По диаметру юбки поршни сортируются на четыре размерные группы: A (92-0,160 мм), Б (92-0,145 мм), В (92-0,130 мм) и Г (92-0,115 мм). Сортировка проводится по наибольшему диаметру юбки. Обозначение группы нанесено на днище поршня. Поршни должны устанавливаться в цилиндры одноименной размерной группы.

  3. В запасные части поставляются поршни трех ремонтных размеров согласно таблицы.

    Маркировка поршня 03349 Диаметр юбки поршня, мм Диаметр отверстия под палец, мм
    92-0,115 28-0,004
    Р1 - II 92.75-0,115 27.7-0,004
    Р2 - I 93.5-0,115 28-0,004
    Р2 - II 93.5-0,115 27.7-0,004

  4. Поршни перед установкой в двигатель должны быть очищены от нагара. Применяйте для очистки специальные размягчающие растворы. При отсутствии таких растворов положите поршни в холодную воду на 10...12ч, затем хорошо просушите и очистите нагар. Канавки под поршневые кольца и отверстия для стока масла очищайте скребками из твердых пород дерева. Во избежание задиров не применяйте для очистки металлические скребки.

Технические требования на шатун П-23У

  1. Шатун и крышка шатуна обрабатываются в сборе, поэтому их раскомплектовка не допускается. При обработке и замере диаметра отверстий нижней головки шатуна гайки болтов затягивайте ключом с плечом 250 мм.

  2. Шатуны, установленные в двигателе, не должны отличаться по массе более чем на 20 г. Масса нанесена на нижней головке шатуна последними тремя цифрами в граммах.

  3. Оси верхней и нижней головок шатуна должны лежать в одной плоскости и быть параллельны, смещение не более 0,06 мм на длине 100 мм, допустимое смещение (скручивание и изгиб) допускается не более 0,1 мм.

  4. Расстояние между осями отверстий верхней и нижней головок шатуна (216±0,05) мм, допустимое расстояние 215,5 мм.

Технические требования на втулку верхней головки шатуна П-23У

  1. Внутренний диаметр втулки после запрессовки и развертывания должен быть равен 28 мм.Натяг между отверстием верхней головки шатуна и втулкой 0,04...0,115 мм, допустимый натяг 0,02 мм.

  2. В запасные части поставляются втулки шатуна нормального и ремонтного размеров с при пуском для обработки внутреннего диаметра. Втулка ремонтного размера 03148Р2-1 имеет увеличенный на 1 мм наружный и уменьшенный на 0,3 мл внутренний диаметры. Эта втулка может применяться с перешлифованным на размер 27,7 мм пальцем и запрессовывается в расточенную на раз мер 34 мм верхнюю головку шатуна.

  3. При износе втулки по внутреннему диаметр) допускается осаживать ее с торцов и обработав внутренний- диаметр. Допустимая длина втулки после осадки не менее 30 мм.

  4. Радиальные отверстия просверлите во втулке после запрессовки по отверстиям в шатуне. Внутреннюю поверхность втулки обработайте после сверления радиальных отверстий.

Технические требования на поршневые кольца П-23У

  1. Кольца ремонтного раз мера компрессионные 03350P1-II и маслосъемные 03351P1-II имеют увеличенный на 0,75 мм наружный диаметр, а кольца 03350P2-I, 03351 P2-I нг 1,5 мм. Кольца 03350 Р 1-1,1 и 03351 P1-II применяйте с ремонтным поршнем 03349 P1-II, а кольца 03350P2-I и 03351 P2-I с поршнями 03349 P2-I i 03349 P2-II.

  2. Установленное в цилиндр кольцо должны иметь тепловой зазор в стыке 0,55... 0,75 мм. Просвет между компрессионным кольцом и калибром допускается не более 0,02 мм в любом месте с плавным уменьшением в обе стороны, но не ближе 5 мм от стыка. Маслосъемное кольцо не должно иметь просвет при установке в калибр.

  3. При сжатии кольца до рабочего зазора в стыке 0,55...0,75 мм, силы, приложенные в двух точках, отстоящих от стыка каждая на 90°, должны быть в пределах 40...80 Н (4...8 кгс).

  4. Для проверки неплоскостности торцов компрессионные кольца пропустите через щелевое приспособление шириной 4,03-0,01 мм. Кольца должны свободно проходить через щель под действием собственного веса.

Технические требования на поршневой палец П-23У

  1. Ремонтный палец 03158-1P1-I имеет увеличенный на 0,2 мм наружный диаметр. Ремонтный палец используйте с изношенными нормальным и ремонтным поршнями, обработанными на размер диаметра отверстия 28,2-0,004 мм. Изношенные пальцы после перешлифовки на размер 27,7-0,009 мм используйте в комплекте с ремонтными поршнями 03349P1-II и 03349P2-II.

  2. Поршневой палец должен свободно поворачиваться по втулке шатуна и перемещаться под действием собственного веса.

  3. Заглушка 03159P1-I поршневого пальца ремонтного размера имеет увеличенный на 0,2 мм диаметр посадочного места 28,2-0,050 мм.

Технические требования на вкладыши П-23У

  1. В запарные части поставляются шатунные вкладыши нормального размера и четырех ремонтных размеров. Размеры вкладышей и шатунных шеек коленчатого вала, их маркировка даны в таблице.

    Обозначение вкла­дышей по чертежу Маркиров­ка вкла­дышей Толщина вкладышей, мм Диаметр шейки коленчатого вала, мм
    А23.01-5403
    А23.01 -5404
    БН1 2 50
    А23.01-5403-01
    А23.01-5404-01
    БР1 2.25 49.5
    А23.01-5403-02
    А23.01-5404-02
    БР2 2.5 49
    А23.01-5403-03
    А23.01-5404-03
    БР3 2.75 48.5
    А23.01-5403-04
    А23.01-5404-04
    БР4 3 48

    Маркировка вкладышей нанесена на наружной стальной поверхности вблизи стыка. На ремонтных вкладышах маркировка может быть нанесена в средней части одного из торцов.

  2. Внутренняя поверхность вкладышей овальной формы, поэтому они по окружности имеют различную толщину. Наибольшую толщину имеет средняя часть вкладыша. Измеряйте вкладыши в плоскости, перпендикулярной разъему.

  3. Высота вкладыша, замеренная под нагрузкой, приложенной к одной из плоскостей разъема, — 27+0,07 мм> суммарная высота обоих вкладышей 54+0,14 мм. Вкладыши, имеющие другую высоту, разбиты на две группы и внешне отличаются дополнительной маркировкой, нанесенной на стопорный усик. Группа вкладышей высотой27+0,04 мм имеет маркировку « — », вкладыши высотой 27+0,10 мм имеют маркировку « + ». Такие вкладыши в подшипнике спаривайте следующим образом: имеющий маркировку «+» с вкладышем, имеющим маркировку «—», что обеспечивает суммарную высоту 54+0,14 мм.

Технические требования на поршень и шатун в сборе П-23У

  1. Разница в массе входящих в комплект поршней в сборе с шатунами не должна превышать 30 г.

  2. Разведение поршневых колец при установке на поршень должно быть ограничено обоймой с внутренним диаметром 100 мм.

  3. При поворачивании вокруг своей оси поршня, находящегося в горизонтальном положении, кольца должны плавно перемещаться в канавках и утопать в них под действием собственного веса.

  4. Зазор между компрессионными и маслосъемными кольцами и канавкой поршня 0,04...0,085 мм, допустимый зазор 0,2 мм, предельный зазор 0,4 мм.

  5. Поршневой палец должен свободно поворачиваться во втулке шатуна и перемещаться под действием собственного веса.

  6. Суммарный зазор, определенный на приборе КИ-11140-ГОСНИТИ, в сопряжениях: поршень — палец, палец — втулка шатуна, вкладыши шатуна— шатунная шейка, коренные шейки — шарикоподшипники— должен быть не более 1 мм. Если зазор более 1 мм, двигатель подлежит разборке для определения зазоров в каждом сопряжении и последующем ремонте.

  7. Сопряжение между отверстием поршня и поршневым пальцем для новых деталей должно быть от натяга 0,017 мм до зазора 0,005 мм, допустимый зазор 0,03 мм, предельный зазор 0,15 мм.

  8. Зазор между пальцем и втулкой шатуна 0,007...0,029 мм, допустимый зазор 0,08 мм, предельный зазор 0,15 мм.

  9. Нормальный зазор между вкладышем и шатунной шейкой в плоскости, перпендикулярной разъему, 0,055... 0,115 мм. Если зазор превышает 0,23 мм, замените изношенные вкладыши.

  10. Радиальный зазор шарикоподшипников коленчатого вала 0,013...0,033 мм, допустимый зазор 0,1 мм, предельный зазор 0,25 мм.

  11. Разрежение в цилиндрах (показатель компрессии), замеренное на приборе КИ-5315-ГОС-НИТИ, должно быть не менее 0,3 кгс/см². При меньшем разрежении проверьте состояние поршневых колец.

Сборка поршня и шатуна П-23У

Для запрессовки втулки 9 (см. рис. 130) нагрейте шатун 15 до температуры 353...363 К (80...90°С). Запрессуйте втулку заподлицо с торцами головки шатуна. Втулку для запрессовки можно охладить до 223 К (—50 °С).

Нагрейте поршень до температуры 343...363 К (70...90°С). Смажьте моторным маслом поршневой палец и втулку шатуна. Соберите поршень с шатуном., протолкнув легкими ударами медного молотка поршневой палец. Палец должен входить от усилия не более 30 Н (3 кгс).

Запрессуйте с обеих сторон поршня заглушку 12 поршневого пальца. При выступании заглушек над поверхностью поршня опилите их.

Установите в канавки специальными щипцами последовательно маслосбрасывающее 13 и три компрессионных 14 кольца фаской к днищу поршня. Расположите стыки колец под углом 120° относительно друг друга. Установите в шатун и крышку нижней головки шатуна верхний 32 и нижний 31 вкладыши по ранее нанесенным меткам.

Установка поршня и шатуна П-23У

Удалите нагар с верхней части поверхности цилиндров. Протрите цилиндры и шатунные шейки коленчатого вала 29 льняной салфеткой.

Смажьте моторным маслом шатунные шейки вала, вкладыши шатунов и крышек, цилиндры блока, поршни и шатунные болты. Установите по ранее нанесенным меткам поршни с шатунами в цилиндры, пользуясь для направления колец приспособлением. Шатун с меткой «1» должен быть установлен в первый цилиндр, с меткой «2» — во второй. Поршни перед установкой подбирайте соответственно размерным группам цилиндров.

Заведите шатун с болтами 16 нижней головки на шатунную шейку коленчатого вала. Установите крышку по ранее нанесенным меткам. Крышку с шатуном собирайте так, чтобы пазы под усики вкладышей находились с одной стороны. Закрепите крышку к шатуну, навернув на шатунные болты гайки 30.

Момент затяжки гаек 68,6 ... 88,2 Н/м (7... 9 кгс/м). Допускается увеличение момента затяжки до 107,8 Н/м (11 кгс/м) для совмещения ближайшей прорези в гайке с отверстием в шатунном болте. Зашплинтуйте гайки, отогнув один конец шплинта на торец болта, другой на грань гайки.

Шатун должен перемещаться вдоль шейки вала от усилия руки.

Закройте крышкой люк поддона блока и установите на блок головку цилиндров.

Поршень и шатун