Запасные части ЧТЗ Запасные части ЧТЗ
Самара
Например:
Актобе
Алдан
или
Выбрать автоматически
Актобе
Алдан
Алматы
Алчевск
Архангельск
Астана
Астрахань
Атырау
Баку
Балашиха
Барнаул
Белгород
Бердянск
Бишкек
Владивосток
Владикавказ
Воркута
Воронеж
Горловка
Грозный
Донецк
Екатеринбург
Иваново
Ижевск
Иркутск
Казань
Калининград
Каменск-Уральский
Караганда
Каховка
Кемерово
Киров
Комсомольск-на-Амуре
Костанай
Краснодар
Красноярск
Красный луч
Ленск
Луганск
Магадан
Магнитогорск
Макеевка
Махачкала
Мелитополь
Минск
Мирный (Якутия)
Москва
Мурманск
Нерюнгри
Нижневартовск
Нижний Новгород
Нижний Тагил
Новая каховка
Новокузнецк
Новосибирск
Новый Уренгой
Норильск
Ноябрьск
Нур-Султан
Омск
Оренбург
Ош
Павлодар
Пермь
Петрозаводск
Петропавловск
Петропавловск-Камчатский
Псков
Ростов-на-Дону
Салехард
Самара
Санкт-Петербург
Саратов
Севастополь
Семей
Симферополь
Сочи
Ставрополь
Сургут
Сыктывкар
Тараз
Ташкент
Токмак
Томск
Тында
Тюмень
Ульяновск
Усинск
Усть-Каменогорск
Уфа
Хабаровск
Ханты-Мансийск
Херсон
Челябинск
Чита
Шымкент
Экибастуз
Энергодар
Южно-Сахалинск
Якутск
Ваш город
Самара
Войти
Запасные части к тракторам на одном сайте
+7 (932) 303-00-10
+7 (932) 303-00-10
г. Самара, ул. Демократическая, д. 45а
Пн-Пт: 9:30-18:30 Cб-Вс: Выходной
Отправить заявку


Коленвал и вкладыши Т-170 Б-170 трактора в Самаре


/
с НДС 20%
Описание

Снятие и разборка коленвала и коренных подшипников Т-170

Снятие

Снимите дизель и установите его на подставку. Снимите картер, масляный насос с масло-приемниками, уравновешивающий механизм, шкив коленчатого вала, кожух шестерен распределения, маховик и кожух маховика.

Установите дизель на бок с небольшим уклоном от горизонтального положения и закрепите от смещения. Снимите крышки шатунов. Отведите шатуны так, чтобы они не мешали снятию коленчатого вала.

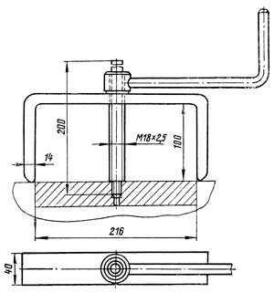
Приспособление для подъема коленчатого вала
Рис. 86. Приспособление для подъема коленчатого вала
Оберните вторую и третью шатунные шейки толстой тканью для защиты поверхности шеек от повреждений. Захватите шейки тросами, присоединенными к подъёмнику. Масса коленчатого вала 137 кг. Натяните тросы так, чтобы коленчатый вал не смещался при снятии крышек коренных подшипников, и снимите крышки. Для избежания повреждения шеек вала и резьбы шпилек, оберните толстой тканью шпильки, после чего снимите коленчатый вал. Снимайте дал специальным приспособлением (рис. 86).

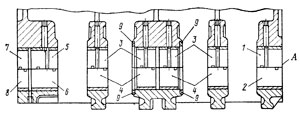
Коленчатый вал и коренные подшипники
Рис. 87. Коленчатый вал и коренные подшипники
Крышки 9 (рис. 87) коренных подшипников плотно сидят в пазах блока. Для их снятия в задней крышке имеется резьбовое отверстие диаметром М16 для установки съемника (рис. 88), в остальных крышках имеются отлитые в боковых стенках ребер углубления.

Съемник для снятия задней крышки коренного подшипника
Рис. 88. Съемник для снятия задней крышки коренного подшипника
При снятии крышек проверьте наличие установочных меток на этих деталях. Метки выбиваются с одной стороны на нижних торцах опор блока и крышек. В случае отсутствия меток следует нанести их так, чтобы , при обратной установке поставить крышки в первоначальное положение.

Разборка

Отверните гайку 14 (см. рис. 87) с носка вала, предварительно расконтрив ее. Снимите стопорную 1 и маслосбрасывающую 13 шайбы. Спрессуйте с носка вала шестерни 2 и 3. Расшплинтуйте пробки 12 полостей шатунных шеек коленчатого вала и выверните их из вала.

Не снимайте противовесы 6, так как коленчатый вал динамически отбалансирован с ними на заводе.

Технические требования на коленчатый вал Т-170

  1. Коренные и шатунные шейки должны быть прошлифованы, если износ шеек превышает 0,25 мм или овальность их больше 0,17 мм. Шейки коленчатого вала шлифуйте на размеры, указанные в таблице под размеры ремонтных вкладышей. Для одного вала все одноименные шейки должны быть одного ремонтного размера.

  2. Коленчатый вал балансируется высверливанием металла в противовесах, поэтому противовесы не снимайте, не переставляйте и не подвергайте обработке. Момент затяжки болтов крепления противовесов 150...190 Н.м (15...19 кгс.м).

  3. Полости в шатунных шейках должны быть очищены от загрязнений.

    Для очистки масляных каналов от металлических загрязнений пользуйтесь намагниченным стержнем, который вводится в каналы вала, затем извлекается вместе с прилипшими частицами загрязнений.

  4. Нормальный рабочий зазор в вертикальной плоскости между вкладышем и шейкой равен:
    • для коренных подшипников — 0,09...0,154 мм;
    • для узких вкладышей пятой коренной шейки и маслосгонной резьбой вала — 0,21...0,274 мм;
    • для шатунных подшипников — 0,1...0,164 мм.

    Если зазор в подшипниках коленчатого вала превышает 0,30 мм, замените изношенные вкладыши. При обнаружении на узких вкладышах уплотнения заднего коренного подшипника следов касания шейкой коленчатого вала, вкладыши заменяйте во избежание утечки масла из блока.

  5. Осевой люфт коленчатого вала 0,04...0,59 мм. Допускается увеличение, продольного люфта вала вследствие износа до предельной величины не более 1,0 мм.

  6. Коленчатый вал поставляется в запасные части комплектно с коренными и шатунными вкладышами (комплект 16-03-126СП).

  7. По диаметру коренных и шатунных шеек коленчатые валы разбиваются на размерные группы. В таблице приведены обозначения, размеры и маркировка коленчатого вала, шатунных и коренных вкладышей, сопрягаемых с соответствующими по размерам шейками вала.

Обозначения, размеры и маркировка коленчатого вала
Коленчатый вал
Диаметры шеек, мм
Обозначение коренных шатунных Маркировка
16-03сп112ОКШ 95,21-0,023 92,21-0,023 ОКШ
16-03сп112 94,96-0,023 91,96-0,023
16-03cnl12ОК 95,21-0,023 91.96-0,023 ОК
16-03сп112ОШ 94,96-0,023 92,21-0,023 ОШ


Размеры и маркировка вкладышей
Вкладыши
шатунные коренные
толщина, мм марки­ровка толщина, мм марки­ровка
3,875-0,03 БН1 3,875-0,025 БН1
4,0-0,03 БН2 4,0-0,025 БН2
4,0-0,03 БН2 3,875-0,025 БН1
3,875-0,03 БН1 4,0-0,025 БН2

Технические требования на вкладыши и упорные полукольца Т-170

  1. Маркировка вкладышей коренных подшипников нормального размера (см. таблицу) нанесена механическим способом на наружной стальной поверхности вблизи стыка.

    На вкладышах ремонтного размера аналогичная маркировка может быть нанесена в средней части одного из торцов вкладыша. Буква Б, входящая в маркировку, обозначает антифрикционный сплав АО20-1. Вкладыши с иным антифрикционным сплавом маркируются другой буквой. Например: вкладыши с антифрикционным сплавом АСМ имеют в маркировке букву А.

  2. На узких вкладышах пятой коренной шейки на наружной поверхности нанесена мастикой маркировка НИЗ на нижнем вкладыше, ВЕРХ — на верхнем вкладыше. Узкие вкладыши на 0,06 мм тоньше, чем остальные вкладыши.

  3. В комплект вкладышей коренных подшипников, поставляемых в запасные части, входят упорные полукольца, устанавливаемые в среднюю опору вала и предназначенные для фиксации его в осевом направлении. Маркировка и размеры полуколец приведены в таблице.

  4. Вкладыши в собранном виде имеют овальную форму отверстия, у которого меньшая ось находится в плоскости, перпендикулярной разъему. Толщина вкладышей в таблице «Маркировка вкладышей коренных подшипников нормального размера» приведена в указанной плоскости.

  5. Не допускаются к установке в дизель вкладыши, имеющие шероховатую на ощупь и изношенную рабочую поверхность. Осматривайте вкладыши после их промывки.

Маркировка вкладышей коренных подшипников нормального размера
Обозначение комплекта Состав комплекта Маркировка
детали кол-во
А23.01-103-160сбН1 вкладыши 14 БН1
полукольца 4 АН
А23.01-103-160сбН2 вкладыши 14 БН2
полукольца 4 АН
А23.01-103-160сбР1 вкладыши 14 БР1
полукольца 4 AP1
А23.01-103-160сбР2 вкладыши 14 БР2
полукольца 4 AP2
А23.01-103-160сбР3 вкладыши 14 БР3
полукольца 4 AP3
А23.01-103-130сбР4 вкладыши 14 АР4
полукольца 4 АР4


Маркировка вкладышей коренных подшипников (продолжение)
Толщина, мм Диаметр
коренной
шейки
вала, мм
вкладыша антифрикционного
слоя
стальной
основы
полукольца
3,875-0.025 0,60...0,79 3,15±0,09 95,21-0.023
5±0,04
4,0-0.025 0,725...0,900 3,15±0,09 94,96-0.023
5±0,04
4,25-0.025 0,625...0,815 3,5±0,09 94,46-0.023
5,1±0,04
4,5-0.025 0,875...1,065 3,5±0,09 93,96-0.023
5,2±0,04
4,75-0.025 0,405...0,635 4,2±0,09 93,46-0.023
5,3±0,04
5,0-0.025 0,87...1,23 92,96-0.023
5,4±0,04


Маркировка и размеры полуколец
Обозначение упорного полукольца Маркировка Толщина, мм
полукольца антифрикционного слоя
А23.01-1370-1А АН 5,0±0,04 0,86...1,69
А23.01-13701А-01 AP1 5,1±0,04 0,86...1,69
А23.01-13701А-02 АР2 5,2±0,04 0,86...1,69
А23.0Ь 13701А-03 АР3 5,3±0,04 0,86...1,69
А23.01-13701А-04 АР4 5,4±0,04 0,86...1,69

Порядок использования вкладышей Т-170

Вкладыши коренных подшипников поставляются в запасные части вместе с упорными полукольцами комплектно на один дизель (см. табл. «Маркировка вкладышей коренных подшипников»).

Высота вкладышей замеряется при их обжатии по одному из стыков в специальном приспособлении и равна 51,5+0,12мм.

Для валов, перешлифованных при ремонте на размеры, отличные от указанных в табл. «Размеры и маркировка коленчатого вала», подбирают вкладыши ремонтного размера и дополнительно растачивают их в сборе с опорами блока.

При расточке таких вкладышей должен быть обеспечен зазор между коренной шейкой вала и вкладышем — 0,11...0,15 мм. Узкие вкладыши 7 (см. рис. 87) пятого коренного подшипника расточите до большого диаметра, чтобы получить зазор между маслосгонной резьбой вала и вкладышем, равный 0,22...0,27 мм.

Минимальная толщина антифрикционного слоя расточенных вкладышей у стыков должна быть не менее 0,3 мм.

При расточке вкладышей должны выполняться технические требования:
  1. Несоосность осей отверстий во вкладышах в блоке не более 0,04 мм. При этом несоосность двух соседних отверстий не более 0,02 мм.
  2. Межцентровое расстояние между осями отверстий расточенных вкладышей и отверстиями во втулках распределительного вала должно быть 242,25...242,30 мм. Расстояние от плоскости разъема с головкой цилиндров до оси отверстий опор коренных подшипников должно быть (615±0,15) мм.
Зазор в коренных подшипниках определяйте с помощью свинцовой проволоки диаметром 0,5 мм, длиной 20 мм, которую вкладывайте между нижним вкладышем и шейкой коленчатого вала. Для того чтобы проволока удерживалась на нижнем вкладыше при установке крышки подшипника и затяжке гаек крепления, приклейте ее к вкладышу солидолом сбоку от отверстия смазочного канала.

Для определения зазора проверните коленчатый вал на один оборот, снимите крышку подшипника и измерьте толщину свинцовой проволоки.

Заменяйте весь комплект коренных вкладышей, если один требует замены. Это необходимо делать во избежание перегрузки и выхода из строя вновь установленного нового вкладыша.

Верхние вкладыши коренных подшипников снимайте при помощи приспособления — грибка, вставляемого в отверстие смазочного канала в коренной шейке вала. Выступание головки приспособления над поверхностью шейки должно быть 2,5...3,0 мм. Вставив приспособление в отверстие смазочного канала, вращением вала по часовой стрелке снимайте вкладыш.

Сборка коленчатого вала Т-170

Перед сборкой коленчатый вал очистите от загрязнений. Внутренние полости шатунных шеек очистите от смолистых отложений, затем промойте раствором под давлением. Температура раствора 323...363 К (50...90 °С). Проверьте плотность посадки трубки 10 (см. рис. 87). Посадите в канавку коленчатого вала шпонку 4 и напрессуйте на носок вала сначала шестерню 3, а затем 2.

Наденьте на носок вала маслосбрасывающую шайбу 13, стопорную шайбу 1 и наверните гайку 14. Гайку законтрите, отогнув ус стопорной шайбы во впадину гайки. Вверните в резьбовые отверстия шатунных шеек пробки 12 и зашплинтуйте их шплинтами 11.

Установка коленчатого вала Т-170

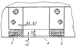
Установите поршни с шатунами в гильзы блока. Снимите с блока крышки коренных подшипников. Промойте и протрите насухо льняной салфеткой вкладыши коренных подшипников коленчатого вала и постели — гнезда под них в блоке и крышках. Затеем установите вкладыши в постели блока и крышек так, чтобы выступ-усик на наружной поверхности вкладыша вошел в паз постели в блоке и крышке.

Схема установки коренных вкладышей в блок цилиндров
Рис. 89. Схема установки коренных вкладышей в блок цилиндров
1,2 — верхний и нижний вкладыши переднего подшипника; 3,4 — верхний и нижний вкладыши промежуточного подшипника; 5, 6 — верхний и нижний вкладыши заднего подшипника; 7, 8 — верхний и нижний задние вкладыши заднего подшипника; 9 — полукольца упорные; 4 — передняя плоскость блока
Верхние вкладыши, имеющие канавки и отверстия, устанавливайте в гнезда блока, а нижние вкладыши (без канавки) устанавливайте в гнезда крышек (рис. 89).

Перед установкой узких вкладышей уплотнения пятого коренного подшипника смажьте наружные поверхности половинок и постели под них в блоке и крышках лаком «Герметик» для уплотнения этого сопряжения. Узкие вкладыши уплотнения с маркировкой (ВЕРХ устанавливайте в блок, с маркировкой НИЗ — в крышку коренного подшипника.

Протрите льняной салфеткой упорные полукольца средней опоры коленчатого вала. Покройте плоскости верхних полуколец, прилегающих к блоку, смазкой ПВК и установите их в кольцевые выточки средней опоры блока. Установите нижние упорные полукольца на штифты в выточки крышки третьего коренного подшипника.

Протрите и смажьте моторным маслом рабочую поверхность шеек и уложите приспособлением (см. рис. 86) коленчатый вал в сборе с шестернями на вкладыши блока так, чтобы впадина с меткой С шестерни коленчатого вала вошла в зуб с меткой С шестерни распределительного вала.

Смажьте моторным маслом поверхность вкладышей крышек коренных подшипников и установите крышки на первую, вторую, третью и четвертую коренные шейки коленчатого вала легкими ударами медного молотка. При этом перекашивание крышек в пазах блока не допускается. Устанавливайте крышки в блок по меткам, выбитым на опорах под вкладыши в блоке и на площадке под гайку в крышках соответственно номеру подшипника в блоке. Метки должны быть обращены в одну сторону в крышке и блоке. Не переворачивайте и не распаровывайте крышки при установке в блок.

Укладка нити уплотнения
Рис. 90. Укладка нити уплотнения
Перед установкой крышки пятого коренного подшипника смажьте тонким слоем лака «Герметик» 2 (рис. 90) плоскость блока под крышку против узкого вкладыша уплотнения и уложите на это место нитку шелка швейного крученого № 13 в два ряда на расстоянии 3...4 мм от задней плоскости А блока. После этого смажьте моторным маслом вкладыш пятого коренного подшипника и установите крышку с вкладышем на коренную шейку коленчатого вала.

Схема затяжки гаек крепления коренных подшипников коленчатого вала
Рис. 91. Схема затяжки гаек крепления коренных подшипников коленчатого вала
Наверните гайки 8 (см. рис. 87) на шпильки коренных подшипников до легкого упора и затяните в два приема, как показано на рис. 91. Момент затяжки гаек 370...420 Н.м (37...42 кгс.м).

Не отворачивайте гайки до совпадения ее прорези с отверстием в шпильке. Подтягивайте гайку до совпадения ближайшей прорези гайки с отверстием под шплинт в шпильке. Шплинтуйте гайки шплинтами.

Для правильной установки средней крышки с упорными полукольцами 5 (см. рис. 87) и обеспечения нормального продольного люфта коленчатого вала 0,04...0,59 мм после посадки средней крышки до упора в плоскость блока переместите ломиком вал до отказа в сторону его носка, затем сдвиньте вал до упора в обратном направлении и после этого затяните гайки крепления средней крышки.

Продольный люфт коленчатого вала проверяйте индикатором или щупом при смещении вала до отказа в одну сторону. Щуп вставляйте в зазор между упорными полукольцами и буртом шейки коленчатого вала. После проверки осевого люфта присоедините шатуны. Момент затяжки гаек шатунных болтов 170...210 Н.м (17...21 кгс.м). После затяжки гаек шатунных болтов и крышек коренных подшипников коленчатый вал должен плавно проворачиваться от усилия руки, приложенного к рычагу с плечом 500 мм и закрепленного на фланце вала.
Коленвал и вкладыши