Запасные части ЧТЗ Запасные части ЧТЗ
Самара
Например:
Актобе
Алдан
или
Выбрать автоматически
Актобе
Алдан
Алматы
Алчевск
Архангельск
Астана
Астрахань
Атырау
Баку
Балашиха
Барнаул
Белгород
Бердянск
Бишкек
Владивосток
Владикавказ
Воркута
Воронеж
Горловка
Грозный
Донецк
Екатеринбург
Иваново
Ижевск
Иркутск
Казань
Калининград
Каменск-Уральский
Караганда
Каховка
Кемерово
Киров
Комсомольск-на-Амуре
Костанай
Краснодар
Красноярск
Красный луч
Ленск
Луганск
Магадан
Магнитогорск
Макеевка
Махачкала
Мелитополь
Минск
Мирный (Якутия)
Москва
Мурманск
Нерюнгри
Нижневартовск
Нижний Новгород
Нижний Тагил
Новая каховка
Новокузнецк
Новосибирск
Новый Уренгой
Норильск
Ноябрьск
Нур-Султан
Омск
Оренбург
Ош
Павлодар
Пермь
Петрозаводск
Петропавловск
Петропавловск-Камчатский
Псков
Ростов-на-Дону
Салехард
Самара
Санкт-Петербург
Саратов
Севастополь
Семей
Симферополь
Сочи
Ставрополь
Сургут
Сыктывкар
Тараз
Ташкент
Токмак
Томск
Тында
Тюмень
Ульяновск
Усинск
Усть-Каменогорск
Уфа
Хабаровск
Ханты-Мансийск
Херсон
Челябинск
Чита
Шымкент
Экибастуз
Энергодар
Южно-Сахалинск
Якутск
Ваш город
Самара
Войти
Запасные части к тракторам на одном сайте
+7 (932) 303-00-10
+7 (932) 303-00-10
г. Самара, ул. Демократическая, д. 45а
Пн-Пт: 9:30-18:30 Cб-Вс: Выходной
Отправить заявку


Площадка на Т-170


/
с НДС 20%
Описание
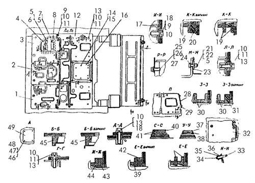
Площадка Т-170
Поз.НаименованиеАртикулКол-во в сборке
0БолтМ12Х55.58.0194
0Площадка50-24-36СП1
0Площадка тракторов без гидрораспределителей50-24-36-02СП1
0Площадка тракторов без гидрораспределителей50-24-36-05СП1
0Площадка тракторов болотоходных моделей48-24-14СП1
0Площадка тракторов болотоходных моделей48-24-14-01СП1
0Площадка тракторов болотоходных моделей без гидрораспределителей (с пусковым двигателем)48-24-14-02СП1
0Площадка тракторов болотоходных моделей без гидрораспределителей с электростартерным пуском дизеля48-24-14-05СП1
0Площадка тракторов болотоходных моделей с электростартерным пуском дизеля48-24-14-03СП1
0Площадка тракторов болотоходных моделей с электростартерным пуском дизеля и механизмом задней навески48-24-14-04СП1
0Площадка тракторов с механизмом задней навески50-24-36-01СП1
0Площадка тракторов с электростартерным пуском дизеля50-24-36-03СП1
0Площадка тракторов стартерным пуском дизеля50-24-36-04СП1
0Подкладка700-40-7775-032
0Коврик700-40-7774-011
1Панель50-24-281СП1
2Панель50-24-283-01СП1
3Панель50-24-282СП1
4Пластина50-24-206СП1
6Болт700-28-21762
6Болт700-28-21772
6Болт700-28-21782
6Болт700-28-21792
6Болт700-28-21802
6Болт700-28-21812
6Болт700-28-21822
6Болт700-28-21832
7Болт М8х25.88.35.01М8Х25.88.35.012
9БолтМ12Х35.58.0194
12Панель50-24-210СП1
13БолтМ12Х45.58.01915
14БолтМ10Х25.58.0192
17Балка50-24-227СП1
21БолтМ8Х25.88.35.014
22ГайкаМ8Х6.0194
25БолтМ20Х50.88.35.0194
28Крышка50-24-4001
37Коврик50-24-2902
40Коврик700-40-77741
46БолтМ6Х16.58.0194
47Гайка М6Х6.019М6Х6.0194
49Крышка50-24-3931
49Крышка50-24-3941
49Крышка50-24-3951
49Крышка50-24-3961
49Крышка50-24-3971
49Крышка50-24-3981
49Крышка50-24-3991
49Крышка50-24-4001
Площадка