Запасные части ЧТЗ Запасные части ЧТЗ
Самара
Например:
Актобе
Алдан
или
Выбрать автоматически
Актобе
Алдан
Алматы
Алчевск
Архангельск
Астана
Астрахань
Атырау
Баку
Балашиха
Барнаул
Белгород
Бердянск
Бишкек
Владивосток
Владикавказ
Воркута
Воронеж
Горловка
Грозный
Донецк
Екатеринбург
Иваново
Ижевск
Иркутск
Казань
Калининград
Каменск-Уральский
Караганда
Каховка
Кемерово
Киров
Комсомольск-на-Амуре
Костанай
Краснодар
Красноярск
Красный луч
Ленск
Луганск
Магадан
Магнитогорск
Макеевка
Махачкала
Мелитополь
Минск
Мирный (Якутия)
Москва
Мурманск
Нерюнгри
Нижневартовск
Нижний Новгород
Нижний Тагил
Новая каховка
Новокузнецк
Новосибирск
Новый Уренгой
Норильск
Ноябрьск
Нур-Султан
Омск
Оренбург
Ош
Павлодар
Пермь
Петрозаводск
Петропавловск
Петропавловск-Камчатский
Псков
Ростов-на-Дону
Салехард
Самара
Санкт-Петербург
Саратов
Севастополь
Семей
Симферополь
Сочи
Ставрополь
Сургут
Сыктывкар
Тараз
Ташкент
Токмак
Томск
Тында
Тюмень
Ульяновск
Усинск
Усть-Каменогорск
Уфа
Хабаровск
Ханты-Мансийск
Херсон
Челябинск
Чита
Шымкент
Экибастуз
Энергодар
Южно-Сахалинск
Якутск
Ваш город
Самара
Войти
Запасные части к тракторам на одном сайте
+7 (932) 303-00-10
+7 (932) 303-00-10
г. Самара, ул. Демократическая, д. 45а
Пн-Пт: 9:30-18:30 Cб-Вс: Выходной
Отправить заявку


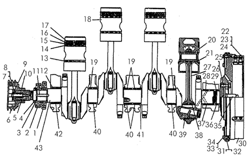
Кривошипно-шатунный механизм дизеля на Т-170


/
с НДС 20%
Описание
Кривошипно-шатунный механизм дизеля Т-170
Поз.НаименованиеАртикулКол-во в сборке
Комплект поршневых колец51-03-130СП1
К-т поршневых колец 51-03-115сп диам. 145мм 1
К-т поршневых колец 51-03-122сп диам. 150мм 1
Кривошипно-шатунный механизм дизеля с пусковым двигателем51-03-1-01СП1
Кривошипно-шатунный механизм дизеля с электростартерным пуском дизеля51-03-6-01СП4
Маховик59-03-117СП1
Маховик в сборе 16-03-111СП1
1 Колесо зубчатое 16-03-37 1
2 Колесо зубчатое 16-03-20 1
3 Шайба 16-03-49 1
4Гайка033231
5 Шпонка 34107 1
6 Шкив коленчатого вала 14-03-121
7Болт037091
7Болт037091
8 Стопор 51-03-15 1
9Пластина замковая 313371
10Болт 033311
11 Шпонка 34106 1
12Вкладыш коренного подшипникаА23.01-103.032-014
13Кольцо маслосъемное51-03-574
13Кольцо маслосъемноеА27.17.82.0724
14Кольцо маслосемное51-03-128СП4
14Кольцо маслосъемноеА27.17.83.0004
15Кольцо компрессионноеА27.07.01.0644
15Кольцо компрессионное51-03-554
16Кольцо компрессионное51-03-544
16Кольцо компрессионноеА27.07.02.0694
17Кольцо компрессионноеА27.07.02.1624
17Кольцо компрессионное51-03-534
18 Поршень 51-03-40 4
18 Поршень 51-03-234
19Вкладыш коренного подшипникаА23.01-103.034-014
20Палец поршневой 16-03-50-014
21Замок 033068
22Сухарик 16-03-1316
23Гайка30116
24Пластина замковая16-03-123
25Болт 285046
26Пластина замковая 313353
27 Шатун 51-03-112СП 4
28Вкладыш коренного подшипникаА23.01-103.036-011
29Вкладыш коренного подшипникаА23.01-103.038-011
30Маховик16-03-301
31Венец маховика59-03-211
32Венец маховика 03618-11
33Болт 2845210
34Пластина замковая313345
35 Цапфа 16-03-171
36Вкладыш коренного подшипникаА23.01-103.039-011
37Вкладыш коренного подшипникаА23.01-103.037-011
38Вкладыш шатунного подшипникаА23.01-100.009-014
39Вкладыш шатунного подшипникаА23.01-100.010-014
40Вкладыш коренного подшипникаА23.01-103.035-014
41 Полукольцо упорное А23.01-13701-А 4
42Вкладыш коренного подшипникаА23.01-103.033-011
43Вал коленчатый 16-03-112СП1
Кривошипно-шатунный механизм дизеля