Запасные части ЧТЗ Запасные части ЧТЗ
Самара
Например:
Актобе
Алдан
или
Выбрать автоматически
Актобе
Алдан
Алматы
Алчевск
Архангельск
Астана
Астрахань
Атырау
Баку
Балашиха
Барнаул
Белгород
Бердянск
Бишкек
Владивосток
Владикавказ
Воркута
Воронеж
Горловка
Грозный
Донецк
Екатеринбург
Иваново
Ижевск
Иркутск
Казань
Калининград
Каменск-Уральский
Караганда
Каховка
Кемерово
Киров
Комсомольск-на-Амуре
Костанай
Краснодар
Красноярск
Красный луч
Ленск
Луганск
Магадан
Магнитогорск
Макеевка
Махачкала
Мелитополь
Минск
Мирный (Якутия)
Москва
Мурманск
Нерюнгри
Нижневартовск
Нижний Новгород
Нижний Тагил
Новая каховка
Новокузнецк
Новосибирск
Новый Уренгой
Норильск
Ноябрьск
Нур-Султан
Омск
Оренбург
Ош
Павлодар
Пермь
Петрозаводск
Петропавловск
Петропавловск-Камчатский
Псков
Ростов-на-Дону
Салехард
Самара
Санкт-Петербург
Саратов
Севастополь
Семей
Симферополь
Сочи
Ставрополь
Сургут
Сыктывкар
Тараз
Ташкент
Токмак
Томск
Тында
Тюмень
Ульяновск
Усинск
Усть-Каменогорск
Уфа
Хабаровск
Ханты-Мансийск
Херсон
Челябинск
Чита
Шымкент
Экибастуз
Энергодар
Южно-Сахалинск
Якутск
Ваш город
Самара
Войти
Запасные части к тракторам на одном сайте
+7 (932) 303-00-10
+7 (932) 303-00-10
г. Самара, ул. Демократическая, д. 45а
Пн-Пт: 9:30-18:30 Cб-Вс: Выходной
Отправить заявку


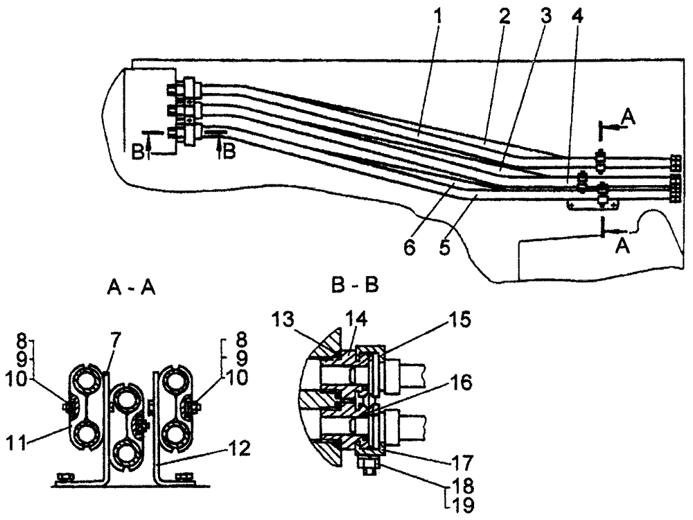
Установка задних трубопроводов на Т10М / Б10М


/
с НДС 20%
Описание
Установка задних трубопроводов на Т10М
# Номер запчасти Наименование детали Кол-во в сборке
- 64-26-4СП Установка задних трубопроводов 1
1 64-26-110-04СП Труба 1
2 64-26-110-05СП Труба 1
3 64-26-110-03СП Труба 1
4 64-26-110-02СП Труба 1
5 64-26-110СП Труба 1
6 64-26-110-01СП Труба 1
7 50-26-233СП Кронштейн 1
8 31308 Шайба 3
9 - Шайба 10 ОТ 65Г 09 3
10 - Гайка М10.6.019 3
11 700-40-6907 Планка 6
12 50-26-237СП Кронштейн 1
13 46764 Кольцо 6
14 18-26-561 Штуцер 6
15 40-26-101СП Планка в сборе 2
16 46856 Кольцо 6
17 18-26-237-01
18-26-237-02
Планка 2
18 30246 Гайка 2
19 Шайба 16 ОТ 65Г 09 2
Установка задних трубопроводов