Запасные части ЧТЗ Запасные части ЧТЗ
Самара
Например:
Актобе
Алдан
или
Выбрать автоматически
Актобе
Алдан
Алматы
Алчевск
Архангельск
Астана
Астрахань
Атырау
Баку
Балашиха
Барнаул
Белгород
Бердянск
Бишкек
Владивосток
Владикавказ
Воркута
Воронеж
Горловка
Грозный
Донецк
Екатеринбург
Иваново
Ижевск
Иркутск
Казань
Калининград
Каменск-Уральский
Караганда
Каховка
Кемерово
Киров
Комсомольск-на-Амуре
Костанай
Краснодар
Красноярск
Красный луч
Ленск
Луганск
Магадан
Магнитогорск
Макеевка
Махачкала
Мелитополь
Минск
Мирный (Якутия)
Москва
Мурманск
Нерюнгри
Нижневартовск
Нижний Новгород
Нижний Тагил
Новая каховка
Новокузнецк
Новосибирск
Новый Уренгой
Норильск
Ноябрьск
Нур-Султан
Омск
Оренбург
Ош
Павлодар
Пермь
Петрозаводск
Петропавловск
Петропавловск-Камчатский
Псков
Ростов-на-Дону
Салехард
Самара
Санкт-Петербург
Саратов
Севастополь
Семей
Симферополь
Сочи
Ставрополь
Сургут
Сыктывкар
Тараз
Ташкент
Токмак
Томск
Тында
Тюмень
Ульяновск
Усинск
Усть-Каменогорск
Уфа
Хабаровск
Ханты-Мансийск
Херсон
Челябинск
Чита
Шымкент
Экибастуз
Энергодар
Южно-Сахалинск
Якутск
Ваш город
Самара
Войти
Запасные части к тракторам на одном сайте
+7 (932) 303-00-10
+7 (932) 303-00-10
г. Самара, ул. Демократическая, д. 45а
Пн-Пт: 9:30-18:30 Cб-Вс: Выходной
Отправить заявку


Установка топливной аппаратуры на Т10М / Б10М


/
с НДС 20%
Описание
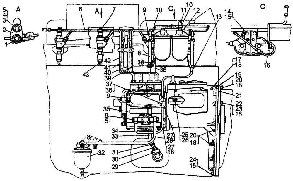
Установка топливной аппаратуры на Т10М
#Номер запчастиНаименование деталиКол-во в сборке
167143Штуцер4
214-69-42Рычаг1
3700-30-2414Гайка4
414-69-46Шайба4
529466-01Шпилька4
651-69-111СПТрубка1
740938Кольцо8
851-41-148СПТопливопровод1
9700-41-2716Болт поворотного угольника3
1051-06-8Кольцо8
1151-70-136СПКлапан1
1251-70-153СПТопливный фильтр тонкой очистки1
1351-41-147СПТопливопровод1
14-Болт М12х25.58.0192
15-Шайба 12 ОТ 65Г 093
1651-41-141СПТрубка1
17-Болт М10-6дх170.58.0191
18-Шайба ЮОТ65Г0919
1906577Прокладка3
20-Болт М10х30.58.01911
2146170
700-40-20011
Прокладка1
22-Болт М10x40.58.0191
23-Гайка М10.6.0191
2428579
-
Болт
Болт M12-6gx40.58.019
1
1
2506322Ось1
26-Шплинт 2x122
273084Гайка7
28353-07-1Шайба1
29700-41-3565Гайка1
3051-41-152СПТрубка1
31-Хомут червячный SGT 20-32/91
3251-70-148СПФильтр топливный (грубой очистки)1
33700-40-20010Рукав1
3451-41-139СПТрубка1
3551-157СП 1
51-157-01СП 2
Насос топливный с регулятором1
36700-40-2654Прокладка1
37700-41-3598Хомут1
3851-69-133СПТрубка1
3951-69-128СПТопливопровод высокого давления1
4051-69-129СПТопливопровод высокого давления1
4151-69-130СПТопливопровод высокого давления1
4251-69-131СПТопливопровод высокого давления1
4314-69-117-1СПФорсунка4
1 Для двигателя мощностью 180 л.с.
2 Для двигателя мощностью 140 л.с.
Установка топливной аппаратуры