Запасные части ЧТЗ Запасные части ЧТЗ
Самара
Например:
Актобе
Алдан
или
Выбрать автоматически
Актобе
Алдан
Алматы
Алчевск
Архангельск
Астана
Астрахань
Атырау
Баку
Балашиха
Барнаул
Белгород
Бердянск
Бишкек
Владивосток
Владикавказ
Воркута
Воронеж
Горловка
Грозный
Донецк
Екатеринбург
Иваново
Ижевск
Иркутск
Казань
Калининград
Каменск-Уральский
Караганда
Каховка
Кемерово
Киров
Комсомольск-на-Амуре
Костанай
Краснодар
Красноярск
Красный луч
Ленск
Луганск
Магадан
Магнитогорск
Макеевка
Махачкала
Мелитополь
Минск
Мирный (Якутия)
Москва
Мурманск
Нерюнгри
Нижневартовск
Нижний Новгород
Нижний Тагил
Новая каховка
Новокузнецк
Новосибирск
Новый Уренгой
Норильск
Ноябрьск
Нур-Султан
Омск
Оренбург
Ош
Павлодар
Пермь
Петрозаводск
Петропавловск
Петропавловск-Камчатский
Псков
Ростов-на-Дону
Салехард
Самара
Санкт-Петербург
Саратов
Севастополь
Семей
Симферополь
Сочи
Ставрополь
Сургут
Сыктывкар
Тараз
Ташкент
Токмак
Томск
Тында
Тюмень
Ульяновск
Усинск
Усть-Каменогорск
Уфа
Хабаровск
Ханты-Мансийск
Херсон
Челябинск
Чита
Шымкент
Экибастуз
Энергодар
Южно-Сахалинск
Якутск
Ваш город
Самара
Войти
Запасные части к тракторам на одном сайте
+7 (932) 303-00-10
+7 (932) 303-00-10
г. Самара, ул. Демократическая, д. 45а
Пн-Пт: 9:30-18:30 Cб-Вс: Выходной
Отправить заявку


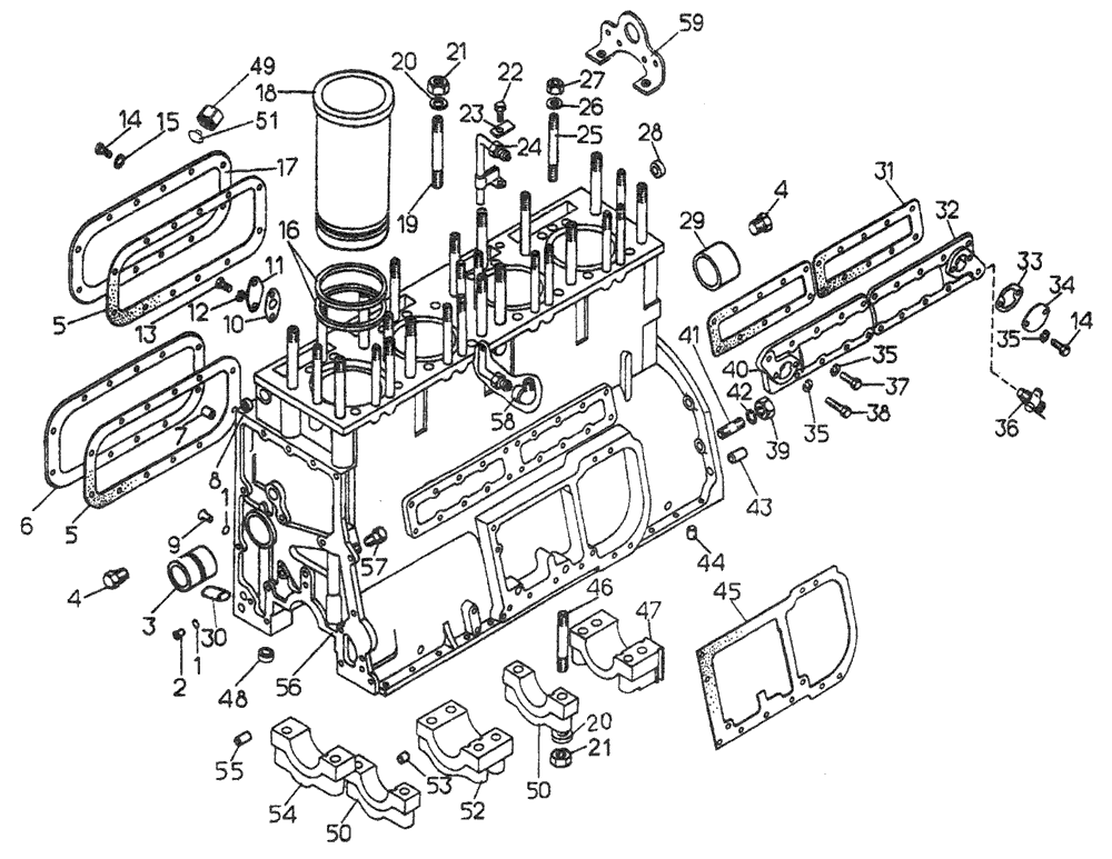
Блок дизеля на Т10М / Б10М


/
с НДС 20%
Описание
Блок дизеля Т10М
#Номер запчастиНаименование деталиКол-во в сборке
-51-01-1-02СПБлок дизеля1
140738Кольцо2
201464Трубка1
3А57.02.001А 2
А57.02.001А1
Втулка распределительного вала1
4700-37-2025Пробка2
540849-1Прокладка2
651-01-201СПКрышка1
732221Штифт2
80280Заглушка1
951-67-51Жиклер1
1040984Прокладка1
1171134Фланец1
12-Шайба 8Т65Г092
13-Болт М8х20.58.0192
14-Болт M10-6gx20.58.01926
1540839Кольцо24
16740.1002024
40210-02
Кольцо уплотнительное гильзы цилиндров8
1751-01-202СПКрышка1
1851-01-82Гильза4
1901434Шпилька12
20700-31-2630Шайба26
2130211-02Гайка26
22-Болт М6-6gх16.88.35.0192
23700-31-158Пластина стопорная2
2414-09-141СПТрубка2
252971Шпилька18
263178-01Шайба18
2730212Гайка18
28-Манжета 1.2-18x35-11
29А57.02.003А 2Втулка распределительного вала3
30700-32-2198Штифт1
31700-40-4456Прокладка2
3214-01-72Крышка задняя1
3346792Прокладка2
3416-01-139Крышка2
35-Шайба 10 ОТ 65Г 0946
36-Кран ПС7-21
37-Болт М10-6gх25.58.01918
38-Болт М10-6gх40.58.0193
39700-30-2415Гайка7
4014-01-71Крышка1
4129316Шпилька7
42-Шайба 20 ОТ 65Г 0911
43700-32-2210Штифт2
44700-32-2202Штифт2
45700-40-2195 1Прокладка1
4601403Шпилька14
4714-01-19 2Крышка заднего подшипника1
4851-01-131Жиклер1
49700-41-3565Гайка накидная1
50011012 2Крышка промежуточного подшипника2
51700-41-3571Заглушка сферическая1
5229-01-31 2Крышка среднего подшипника1
53700-32-2195Штифт5
54011011 2Крышка переднего подшипника1
553262Штифт2
5651-01-8 2Блок1
57379Пробка1
5841204-1Колено2
5951-01-30Проушина2
1 Для дизеля с пусковым двигателем.
2 Заказывать комплект 51-01-109СП Блок.
Блок дизеля